SUNFORD VALVES
Forged Steel Piston Valve
Forged Steel Piston Valve
Technical Specification
| Design Standard | B16.34/EN 12516.2 |
|---|---|
| Testing STandard | API 598 |
| Face To Face Standard | Manufacture's Standard |
| Socket Weld Standard | ASME B16.11 |
| Screwed End Standard | ASME B1.20.1 |
| Butt Weld Standard | ASME B16.25 |
| Flange End Standard | ASME B 16.5 |
| Hydraulic Test Pressure | ||
|---|---|---|
| Body | 31 Kg/cm² | |
| Seat & Back Seat | 22 Kg/cm² | |
| Air Test | 07 Kg/cm² | |
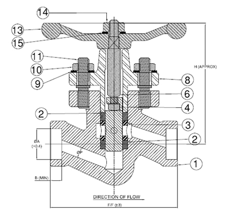
| Part List | ||
|---|---|---|
| Sr. No. | Item Description | Material |
| 1 | Body | ASTM A 105 |
| 2 | Sealing Ring | GRAPHITE WITH SS304 RAINFORCED |
| 3 | Lantern Bush | ASTM A276 TYPE SS 410 |
| 4 | Piston | ASTM A276 TYPE SS 410 |
| 5 | Spindle Nut Washer | Brass |
| 6 | Spindle | ASTM A276 Type SS 410 |
| 7 | Spindle Nut | Brass IS319 GR.1 |
| 8 | Bonnet | ASTM A 105 |
| 9 | Belleville Washer | 50 CR V4 / ASTM 240 GR.302 |
| 10 | Nut | ASTM A 194 GR.2H |
| 11 | Stud | ASTM A 193 GR.B7 |
| 12 | Handwheel | MI / SGIRON |
| 13 | Handwheel Washer | MS |
| 14 | Handwheel Nut | ASTM A 194 GR. 2H |
| Size | F/F(mm) | ∅P(mm) | H Open(mm) | H Close(mm) | ∅WH | B | ∅A(mm) |
|---|---|---|---|---|---|---|---|
| 15 | 110 | 9 | 130 | 105 | 86 | 9.50 | 21.80 |
| 20 | 110 | 12 | 130 | 105 | 86 | 12.50 | 27.20 |
| 25 | 126 | 17 | 171 | 137 | 116 | 12.50 | 33.90 |
| 40 | 165 | 28 | 235 | 191 | 150 | 12.50 | 48.80 |
